
Super Nintendo World : Mario et sa bande débarquent en 2020
Il y a quelques mois, Universal Studios Japan annonçait la mise en projet d’une zone « Super Nintendo World » dédiée à Mario, Luigi et tous leurs amis pour 2020. J.L. Bonnier (PDG Universal Studios Japan) et Mark Woodbury (Vice Président Universal Parks & Resorts) ont révélé de nouveaux détails au sujet de Super Nintendo World.

À l’occasion de la pose de la première pierre du chantier (08 juin 2017), de nombreux indices concernant la composition de Super Nintendo World ont été dévoilés. La direction l’assure, cette nouvelle zone sera « unique au monde » et permettra aux visiteurs d’expérimenter « des concepts d’attractions inédits ». Celle-ci comportera d’ailleurs plusieurs niveaux et proposera aux visiteurs attractions, restaurants et boutiques.


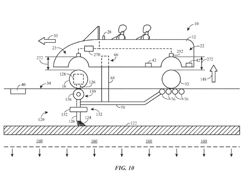
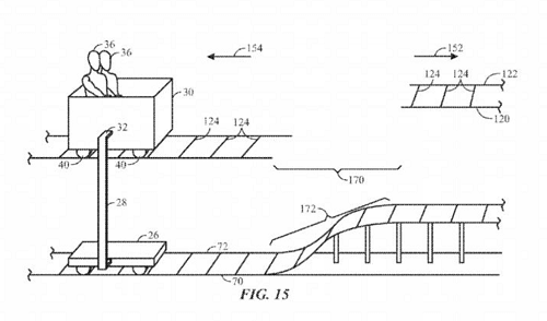
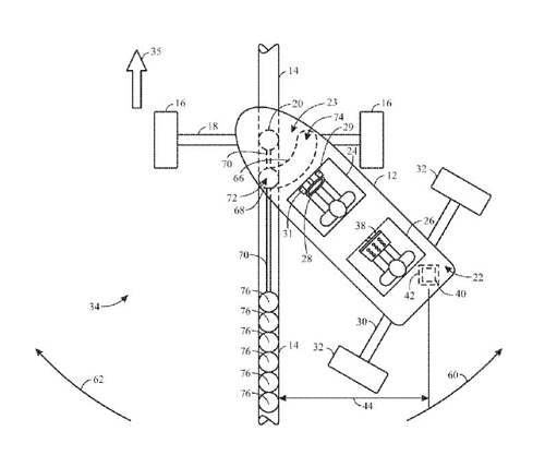
Concernant les attractions, si peu d’informations ont été dévoilées, Mark Woodbury a révélé que la nouveauté phare de Super Nintendo World sera une attraction basée sur la licence Mario Kart, pour le plus grand plaisir des fans. De fins observateurs ont constaté que la branche « Universal Creative » avait récemment déposé un certain nombre de brevets techniques. Si certains de ces brevets restent classiques, d’autres semblent faire écho avec les déclarations des dirigeants.


Au vu des designs des véhicules et des caractéristiques des mouvements, tout laisse penser que ces concepts sont destinés à une attraction Nintendo : les wagons rappellent le jeu d’arcade Donkey Kong alors que les autres véhicules biplaces semblent coller à l’univers du jeu Mario Kart.




Dans un premier temps, Super Nintendo World exploitera uniquement l’univers de Mario pour sa première phase de développement, laissant les licences telles que Metroid ou Zelda en attente.
Après le succès phénoménal de la zone Wizarding World of Harry Potter, Universal Studios se lance dans un nouveau défi : adapter dans ses parcs les univers des jeux vidéo à succès. Une problématique se présente alors : comment matérialiser des univers entièrement conçus en 3D ?
Le succès de la zone au Japon ne fait aucun doute tant les personnages de Nintendo sont historiquement ancrés dans la culture.
Rappelons que cet univers est amené à être dupliqué dans les autres parcs autour du Monde, et notamment à Universal Orlando Resort, en constant duel avec Walt Disney World Resort.
Découvrez la première vidéo de présentation officielle de Super Nintendo World :
Revivez la Cérémonie d’annonce de Super Nintendo World :